

“中国船员疑抵泰国后失联被绑至缅甸”一事近日持续引发关注。1月6日,距离最后一次联系到弟弟小宇(化名)已经过去10天,来自河南商丘的李女士称,据当地警方调查以及向郑州新郑机场确认,2024年12月26日晚,小宇从郑州新郑机场登机,乘坐泰国皇雀航空DD3137次航班飞往泰国曼谷,于当地时间2024年12月27日凌晨2时许落地曼谷廊曼机场。
不久后,小宇便失踪了,手机关机、微信不回,至今仍未能取得联系。
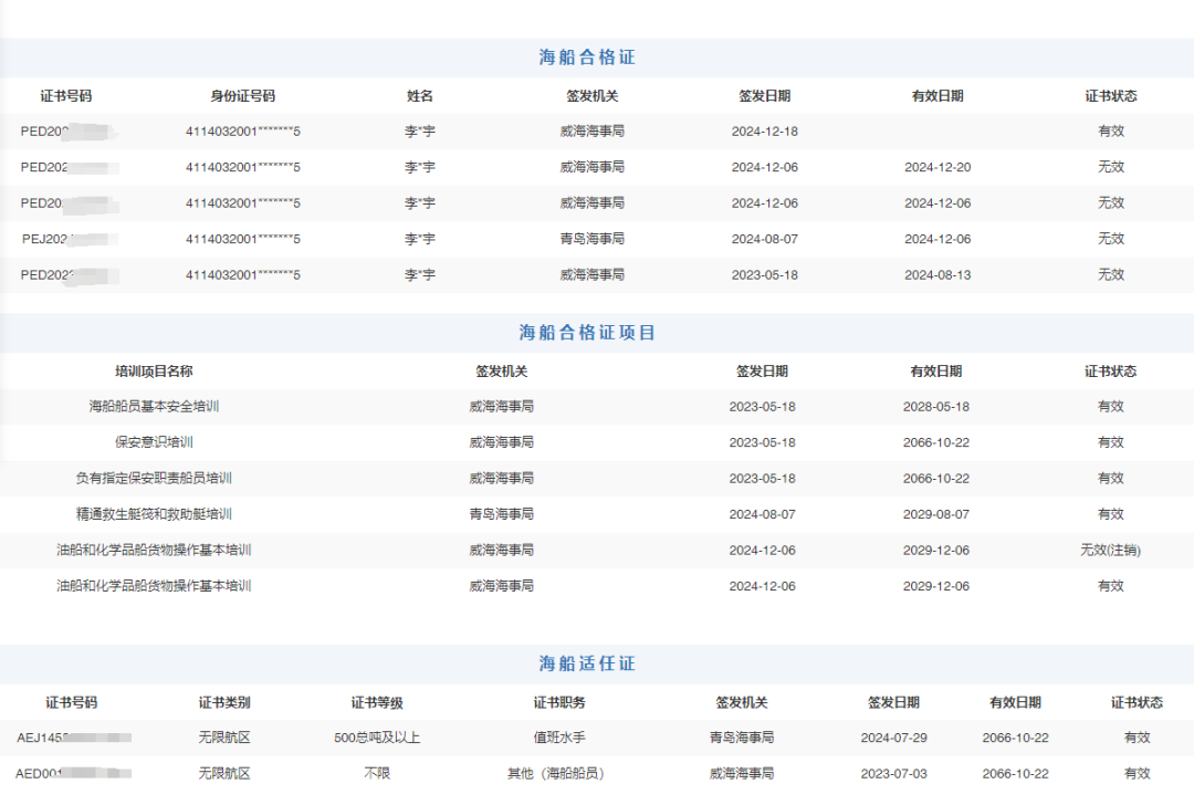
李女士介绍,弟弟小宇今年23岁,是一名海船水手,这一次离家是因为有出海任务。
小宇的相关证件信息。图源:中国海事局官网
李女士说,这一次小宇出发也比较匆忙,没有具体告知去哪,只说等老板订好票就走,“甚至没有带什么行李,只拿了一身衣服和船上的工作服。”
小宇落地泰国后,李女士还特意询问他这次出发为何没有带上厚衣服,小宇语音回复说:“穿不住(到),这地方热。” 这条语音也成了小宇发给李女士的最后一条消息,之后就一直失联。
李女士与小宇的聊天记录。受访者供图
2024年12月30日晚,一名陌生男子主动加微信联系李女士,向她发来小宇的照片和一段小宇被殴打的视频,“对方说我弟已经被绑到了缅甸,要我们支付10万元赎人,不然一辈子都别想见到我弟弟了。”李女士这才意识到事情的严重性,当天夜里就赶到派出所报警。
陌生男子向李女士发来疑似小宇遭绑架的图片。受访者供图
李女士怀疑,弟弟极有可能是被他人骗出国的。
在该陌生男子与李女士的聊天记录中,他曾发来小宇的一张照片,上面附有泰文字样的文字信息。李女士通过翻译软件查询看到,拍摄时间显示为2024年12月27日,地点则为泰国湄索县——泰缅边境附近,“我弟弟就是在这一天之后开始失联的,不确定他人是不是已经到了缅甸境内被控制。”李女士还透露称,在后续的聊天中,陌生男子多次提到了“人在缅甸”“KK园区”等信息。
陌生男子与李女士的聊天记录。受访者供图
目前,该事件有了最新进展。李女士已经拿到商丘市公安局睢阳分局出具的《立案决定书》,警方表示将针对李女士被敲诈勒索案展开进一步侦查。
商丘市公安局睢阳分局出具的《立案决定书》。受访者供图
李女士透露,接下来她将考虑前往泰国求助中国大使馆的帮助,“我之前从来没出过国,刚去办了护照,准备买机票去泰国。”
来源:新民晚报、封面新闻
编辑:张宇